Чем больше информации,тем скорее подберем!
Уважаемые клиенты!
Мне, как и каждому из нас, время от времени приходится что-то покупать или ремонтировать. И, к сожалению, общение с продавцом товаров или услуг далеко не всегда вызывает у меня положительные эмоции. Особенно, когда приходится сталкиваться с хамоватым сотрудником, упорно не желающим ни решить твою проблему, ни позвать руководство. В таких компаниях недовольный клиент — это проблема менеджера. Руководство же просто не хочет брать на себя лишние заботы.
Мне все это знакомо, но я считаю, что так быть не должно. Поэтому мне очень важно знать ваше мнение о работе нашей компании: что вам у нас нравится, а что, может быть, заставляет вас искать другого поставщика. Поскольку я физически лично не могу отследить все этапы каждой сделки, то прошу вас своевременно сообщать о возникновении каких-либо конфликтных ситуаций.
С помощью формы обратной связи вы всегда можете написать мне о своих проблемах. Если вас не удовлетворила скорость обработки заказа, обслуживание или работа склада — обязательно напишите или позвоните мне. В свою очередь я обещаю вам принять соответствующие меры, чтобы подобные ситуации в дальнейшем не повторялись.
Письмо директору
Пн-Пт
Суббота
Воскресенье
https://surgut.camsparts.ru
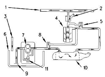
Схема потока масла для прогретого двигателя
(1) Масляный коллектор
(2)Трубопровод подачи масла
(3) Возвратный маслопровод
(4) Масляный фильтр
(5) Перепускной клапан масляного фильтра
(6) Масляный поддон
(7) Маслонасос
(8) Перепускной клапан маслоохладителя
(9) Линии всасывания
(10) Масляный охладитель
(11) Перепускной клапан масляного насоса
Когда двигатель прогрет, масло подается из масляного поддона (6) через линии всасывания (9) в масляный насос (7). Масляный насос нагревает горячее масло через маслоохладитель (10). Затем масло подается в масляный фильтр (4). Из масляного фильтра масло подается в масляный коллектор (1) в блоке цилиндров и в маслопровод подачи (2) турбокомпрессора. Из турбокомпрессора масло по возвратному маслопроводу (3) возвращается в масляный поддон.
Схема потока масла для холодного двигателя
(1) Масляный коллектор
(2) Трубопровод подачи масла
(3) Возвратный маслопровод
(4) Масляный фильтр
(5) Перепускной клапан масляного фильтра
(6) Масляный поддон
(7) Маслонасос
(8) Перепускной клапан маслоохладителя
(9) Линии всасывания
(10) Масляный охладитель
(11) Перепускной клапан масляного насоса
Когда двигатель холодный, масло подается из масляного поддона (6) через линии всасывания (9) в масляный насос (7). Когда масло холодное, перепускные клапаны открываются за счет перепада давления находящегося в них масла. Эти перепускные клапаны обеспечивают непосредственное смазывание всех компонентов двигателя, когда холодное вязкое масло плохо проходит через маслоохладитель (10) и масляный фильтр (4). Масляный насос нагнетает холодное масло через перепускной клапан (8) маслоохладителя и перепускной клапан (5) масляного фильтра. Затем масло поступает в масляный коллектор (1) в блоке цилиндров и в маслопровод подачи (2) турбокомпрессора. Из турбокомпрессора масло по возвратному маслопроводу (3) возвращается в масляный поддон.
Когда масло теплое, перепускные клапаны под действием перепада давления масла в них закрываются. Восстанавливается штатный поток масла через маслоохладитель и масляный фильтр.
Перепускные клапаны также открываются в случае ограничения потока масла через маслоохладитель и масляный фильтр. Это обеспечивает непрерывное смазывание двигателя в обход засоренного масляного фильтра или маслоохладителя. Давление в системе ограничивается перепускным клапаном (11) масляного насоса.
В наличии комплектующие для всех моторов Cummins, Caterpillar, Perkins. Представлены оригинальные и аналоговые запчасти. Подобрать необходимую деталь не составит труда.
Предлагаются воздушные, топливные и масляные фильтры брендов Cummins, Fleetguard, Donaldson, Baldwin, Sakura. Изделия обладают прекрасной адсорбцией.
В продаже оригинальные моторные масла компании Valvoline, дочернего подразделения Cummins Inc.
Каталог
Информация
Камспартс © 2011-2026
Политика конфиденциальностиКамспартс © 2011-2026
Политика конфиденциальности